8.2.1.1 Cửa vào phân đoạn đo lường
Khi bơm được thử theo sơ đồ thử nghiệm chuẩn (mô tả trong điều 5.3.2), phân đoạn đo lường cửa vào/cửa ra phải được bố trí ở khoảng cách không nhỏ hơn hai lần đường kính (2D) phía trên/phía dưới dòng chảy tương ứng, tính từ mặt bích cửa vào/ra của bơm (nếu có thể). Nếu điều kiện này không được thỏa mãn (ví dụ: trong trường hợp miệng ống hình loe/côn…), nếu không có thỏa thuận trước giữa các bên liên quan đối với đoạn ống thẳng trước cửa vào ngắn phải đảm bảo điều kiện tốt nhất có thể đối với khu vực phía thượng lưu và hạ lưu phân đoạn đo lường (ví dụ: chiều dài 2D của khoảng cách thượng lưu-hạ lưu).
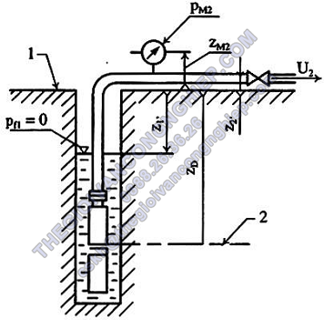
CHÚ THÍCH 1: - Vị trí nghiêng của máy bơm cho thấy z1 và z1' hoặc z2 và z2' tương ứng có thể khác nhau, tạo nên sự khác biệt giữa các áp suất liên quan.
CHÚ THÍCH 2: - Hình trên chỉ có giá trị minh họa về nguyên tắc, không mang tính kỹ thuật.

Hình 3 - Xác định cột áp toàn phần H của bơm
Phân đoạn đo lường cửa vào/cửa ra phải được bố trí tại đoạn ống thẳng có cùng đường kính và đồng trục với mặt bích cửa vào của bơm, sao cho điều kiện dòng chảy gần với quy định trong điều 5.3.2. Nếu có cút/cổ cong ở khoảng cách gần phân đoạn đo lường phía thượng lưu, và nếu chỉ có 1 hoặc 2 vòi đo áp suất được sử dụng (thử nghiệm cấp 2), chúng phải vuông góc với mặt phẳng cong xoắn ốc (xem Hình 3 và Hình 4).
Đối với thử nghiệm cấp 2, nếu tỷ số giữa cột áp vận tốc cửa vào với cột áp toàn phần là rất nhỏ (< 0,5%) và nếu biết trước cột áp toàn phần cửa vào không quan trọng (không kể trường hợp thử cột áp hút dương tối thiểu NPSH), có thể chỉ cần bố trí vòi đo áp suất trên mặt bích cửa vào mà không cần phải ở khoảng cách 2D về phía thượng lưu (xem Hình 8.4.1).
Cột áp toàn phần cửa vào được xác định từ các cột áp thành phần, đọc trên áp kế ở độ cao xác định của điểm đo so với mặt phẳng cơ sở và cột áp vận tốc, được tính ở điều kiện đảm bảo phân bố vận tốc đồng nhất trong ống hút.
Sai số đo cột áp cửa vào bơm có thể phạm phải tại dòng chảy riêng vì dòng chảy xoáy trước. Sai số này có thể phát hiện và hiệu chỉnh như sau:
a) nếu bơm hút chất lỏng từ mặt phẳng tự do của bể chứa, có mức nước và áp suất tác động không đổi, tổn thất cột áp toàn phần giữa bể chứa và cửa vào phân đoạn đo lường (khi không có dòng xoáy trước) tuân theo quy luật bình phương đối với tốc độ dòng chảy. Khi dòng xoáy phá vỡ qui luật bình phương lưu tốc nói trên tại lưu tốc dòng chảy thấp, có thể hiệu chỉnh kết quả đo cột áp toàn phần cửa vào theo biểu đồ (xem Hình 5).
b) Nếu bơm không hút chất lỏng từ bể chứa có mức và áp suất không ổn định, phải chọn bố trí phân đoạn đo lường ở đủ xa về phía thượng lưu (không có dòng xoáy trước), có thể dự đoán được tổn thất cột áp giữa hai phân đoạn (nhưng không trực tiếp về cột áp toàn phần cửa vào) theo cùng cách thức đã đề cập trên (xem Hình 3 và Hình 4)
H = H2 - H1 | (33) |
H = z2 - z1 | (34) |
và H = z2' - z1' + zM2' - zM1' | (35) |
CHÚ THÍCH: Trong trường hợp trục bơm nằm ngang: z1 = zD = z1'
CHÚ DẪN: 1 là Đường cột áp (năng lượng) toàn phần
CHÚ THÍCH: Trong trường hợp này đối với trục nằm ngang z1 = zD = z1'

Hình 4 - Minh họa ba chiều các kích thước xác định cột áp toàn phần của bơm

H1'a - Giá trị thực;
H1'b - ảnh hưởng bởi dòng xoáy
Hình 5 - Hiệu chỉnh cột áp toàn phần cửa vào

Hình 6 - Bố trí vòi đo áp suất (lỗ trích áp suất) vuông góc với mặt phẳng xoắn ốc của bơm hay mặt phẳng đường ống cong
8.2.1.2 Cửa ra phân đoạn đo lường
Cửa ra của phân đoạn đo lường thường được bố trí oqr khoảng cách 2D từ cửa ra của mặt bích cửa ra. Đối với bơm có cột áp vận tốc cửa ra nhỏ hơn 5% cột áp toàn phần của bơm, cửa ra phân đoạn đo lường thử nghiệm cấp 2 có thể bố trí tại mặt bích cửa ra.
Cửa ra của phân đoạn đo lường phải được bố trí ở đoạn ống dẫn thẳng đồng trục với mặt bích cửa ra và có cùng đường kính. Khi sử dụng 1 đến 2 vòi đo áp suất (thử nghiệm cấp 2), vòi đo áp suất (lỗ trích áp) phải vuông góc với mặt phẳng xoắn ốc hay cut/cổ cong của vỏ bơm (xem Hình 6).
Cột áp toàn phần cửa ra xác định theo thiết bị đo, từ độ cao của điểm đo bên trên mặt phẳng cơ sở và từ cột áp vận tốc được tính với điều kiện đảm bảo phân bố vận tốc đồng nhất trong ống xả. Cột áp toàn phần cửa ra có thể bị ảnh hưởng của dòng chảy xoáy do bưm tạo nên hay do phân bố vận tốc hay áp suất không bình thường. Áp suất các vòi đo có thể được phân bố ở khoảng cách xa hơn về phía hạ lưu. Tổn thất cột áp giữa mặt bích phân đoạn đo lường phải được quan tâm xem xét (xem điều 8.2.4).
8.2.2 Thử nghiệm bơm liên hợp với các cấu kiện
Máy bơm liên hợp với toàn bộ hoặc một phần các cấu kiện phía trên và phía dưới dòng chảy thì các cấu kiện được xem như là các bộ phận cấu thành của bơm, điều kiện quy định trong điều-8.2.1 áp dụng cho các mặt bích nối cửa vào và cửa ra của các cấu kiện thay vì các mặt bích nối của bơm, Quy trình này phải bổ sung áp dụng đối với bơm với tổn thất cột áp do các cấu kiện phụ.
Tuy nhiên, nếu các điểm cam kết chỉ liên quan đến đặc tính kĩ thuật của bơm, tổn thất cột áp do ma sát, các tổn thất cột áp cục bộ (nếu có) giữa cột áp toàn phần cửa vào của phân đoạn đo lường với mặt bích cửa vào HJ1, và giữa mặt bích cửa ra với cột áp toàn phần của phân đoạn đo lường cửa ra HJ2 phải được xác định theo phương pháp mô tả trong điều 8.2.4 và phải được tính đến trong thành phần của cột áp toàn phần của bơm.
Tương tự, cũng áp dụng cho các cấu kiện là bộ phận của thiết bị đi kèm theo mà không phải là bộ phận của bơm.
8.2.3 Bơm chìm và bơm giếng sau
Thử nghiệm Bơm loại này không thể thử theo sơ đồ thử nghiệm chuẩn theo điều 5.3.2, mà theo sơ đồ và điều kiện lắp đặt cho trên Hình 7.
|
|
CHÚ DẪN: 3- Mặt phẳng tham chiếu 4- Mặt phẳng cơ sở (chuẩn) H1 = z1' H2 = z2' H = a) | CHÚ DẪN: 1- Mặt phẳng tham chiếu 2- Mặt phẳng cơ sở (chuẩn) H1 = z1' H2 = z2' H = b) |
Hình 7 - Đo cột áp toàn phần H của các loại bơm chìm khác nhau
Cột áp toàn phần cửa vào được tính bằng chiều cao bề mặt tự do của chất lỏng hút vào bơm so với mặt phẳng nền, cộng với cột áp tương đương đo được so với mặt phẳng nền.
Tùy trường hợp cụ thể, có thể xác định cột áp toàn phần cửa ra bằng cách đo áp suất trong ống xả (điều 8.2.1.2) hoặc bằng cách đo chiều cao mức chất lỏng trong bể xả cộng với cột áp tương đương với áp suất đọc trên áp kế bên trên bề mặt này (giả sử bơm xả chất lỏng vào bể chứa có bề mặt tự do thực sự tĩnh lặng xung quanh điểm đo mức, cột áp cửa ra bằng độ cao của mặt phẳng này bên trên mặt phẳng nền).
Quy trình này không đánh giá được toàn bộ các tổn thất cột áp của bơm giữa các phân đoạn đo lường.
Nếu cần thiết, tổn thất cột áp do ma sát đường ống giữa các phân đoạn đo lường và do kết cấu của bơm có thể xác định theo phương pháp miêu tả trong điều 8.2.4. Khách hàng và nhà chế tạo/cung cấp phải xem xét thỏa thuận khi soạn thảo hợp đồng về giới hạn cho phép đối với "tổn thất cột áp cục bộ" do sự bất thường (không dự đoán trước được) trong mạch ống dẫn và các cấu kiện khác nhau (bộ lọc, van một chiều, cút cong, van, ống loe/côn…) trước khi tiến hành thử nghiệm, nếu có.
Bơm giếng sau (Hình 7a) thông thường được thử tại giếng với đường ống thẳng đứng, ngoại trừ tiến hành thử nghiệm nghiệm thu tại nơi lắp đặt, tổn thất cột áp do ma sát trong trường hợp không đủ phụ kiện phải được bên chế tạo/cung cấp đánh giá và công bố cho bên mua. Nếu cần thiết thử kiểm chứng đặc tính kĩ thuật đã công bố tại hiện trường, đánh được chỉ rõ trong hợp đồng.
Đối với thử nghiệm bơm kiểu này, các cam kết có thể áp dụng cho các trường hợp có gá lắp hoặc không gá lắp với các phụ kiện.
8.2.4 Tổn thất ma sát ở cửa vào và cửa ra
Các điều cam kết trong điều 4.1, liên quan tới các mặt bích cửa vào, mặt bích cửa ra của bơm và các điểm đo áp suất, thường bố trí xa các mặt bích này (điều 8.2.1 đến điều 8.2.3). Do vậy phải cộng thêm các tổn thất cột áp thành phần do ma sát (HJ1 và HJ2) giữa các điểm đo và các mặt bích tương ứng vào giá trị đo cột áp toàn phần.
Chỉ phải hiệu chỉnh, nếu:
HJ1 + HJ2 ³ 0,005 H đối với thử nghiệm cấp 2;
HJ1 + HJ2 ³ 0,002 H đối với thử nghiệm cấp 1.
Nếu đoạn đường ống giữa các điểm đo và các mặt bích tương ứng đảm bảo thẳng, tiết diện tròn không đổi và không có vật cản bên trong, khi đó
![]() | (36) |
trong đó: l là hệ số tổn thất trong đường ống do ma sát, xác định từ biểu thức
| (37) |
k là độ nhám quy đổi tương đương của đường ống;
là độ nhám tương đối (số thực).
Trong Phụ lục C hướng dẫn xác định sự cần thiết và lượng hiệu chỉnh tổn thất, nếu cần;
Nếu bên trong ống dẫn có vật cản hoặc ống dẫn không thẳng và tiến diện ngang không tròn đều, phải thỏa thuận điều kiện "hiệu chỉnh" trong hợp đồng.
8.3 Đo mức nước
8.3.1 Bố trí phân đoạn đo lường
Bố trí thiết bị đo mức nước tại nơi dòng chảy ổn định, không có sóng nhiễu cục bộ. Phải sử dụng cơ cấu hoặc hộp lắng để giảm sóng bằng các tấm chắn đục lỗ, nếu bề mặt nước tự do bị nhiễu bởi các sóng nhỏ hoặc xoáy. Lỗ trên tấm chắn phẳng phải đủ nhỏ (đường kính khoảng 3mm đến 5mm) để giảm dao động áp suất.
8.3.2 Thiết bị đo
Chọn thiết bị đo có kết cấu, dải đo, cấp chính xác phù hợp với cột áp toàn phần của bơm và điều kiện thử nghiệm cụ thể (như bề mặt thoáng dễ thao tác, ổn định hoặc không ổn định…). Các thiết bị đo được sử dụng phổ biến là:
a) Thiết bị đo lắp đặt đứng hoặc nghiêng, gắn vào tường;
b) Thiết bị đo điểm hoặc hình móc, lắp đặt trong giếng hoặc hộp lắng sóng bằng khung đỡ gắn sát gần với mặt thoáng;
c) Thiết bị đo kiểu đĩa kim loại nằm ngang treo và dải băng bằng thép vạch chia độ;
d) Thiết bị đo dạng phao (chỉ sử dụng trong giếng/ hộp lắng sóng);
e) Thiết bị đo áp suất chất lỏng tuyệt đối hoặc vi sai (điều-8.4.3.1);
f) Thiết bị kiểu bọt khí (sử dụng cơ cấu xả khí nén);
g) Đầu đo áp suất chìm dưới nước;
Ba loại thiết bị đo sau cùng (như e), f) và g)) rất phù hợp cho nơi có bề mặt tự do khó tiếp cận.
8.4 Đo áp suất
8.4.1 Vòi đo áp suất
Đối với thử nghiệm cấp 1 phải sử dụng bốn vòi đo áp suất tĩnh, bố trí đối xưng trên đường tròn mặt cắt của phân đoạn đo lường (Hình 8a).
Đối với thử nghiệm cấp 2, chỉ cần dùng một vòi đo áp suất tĩnh trên mỗi phân đoạn đo lường. Tuy nhiên, phải sử dụng hai hoặc nhiều vòi đo áp suất khi dòng chảy chịu tác động của dòng xoáy hoặc không đối xứng (Hình 8b).

CHÚ DẪN:
1 Lỗ xả khí; 2 Đường dẫn chất lỏng; 3 Ống nối đến thiết bị đo áp suất.
a) Cấp 1: 04 lỗ đo áp nối vào ống góp; b) Cấp 2: 01 lỗ đo áp suất (hoặc 02 vị trí đối diện).
a) Cấp 1: bốn đầu trích áp suất nối vào vòng góp; | b) Cấp 2: một đầu trích áp suất (hoặc hai đối diện) |
Hình 8 - Bố trí lỗ vòi đo áp suất đối với thử nghiệm cấp 1 và cấp 2
|
|
l ³ 2,5 d với d = 3mm đến 6 mm 1/10 đường ống kính, nhận trị số bé hơn a) Thành dầy | r £ d/10
b) Thành mỏng |
Hình 9 - Yêu cầu đối với vòi đo áp suất tĩnh
Vị trí vòi đo áp suất được xác định theo sơ đồ bố trí thử nghiệm theo điều 8.2.1.1 và điều 8.2.1.2, nếu không có quy định riêng biệt;
Lỗ trích áp vòi đo áp suất tĩnh phải phù hợp với yêu cầu trong Hình 9, không có gờ sắc hoặc vật cản và bằng phẳng phía thành trong đường ống.
Đường kính lỗ trích áp phải có giá trị giữa 3 mm và 6 mm hoặc bằng hay nhỏ hơn 1/10 đường kính ống dẫn. Chiều dài lỗ trích áp phải không nhỏ hơn 2,5 lần đường kính lỗ.
Lỗ trích áp vòi đo áp suất trên ống phải sạch, nhẵn và bằng vật liệu có khả năng chống chịu các phản ứng hóa học của chất lỏng bơm. Tránh không bố trí lỗ vòi đo áp suất gần vị trí vết hàn dọc đường ống. Nếu đường ống hàn dọc theo chiều dài đường ống, lỗ trích áp phải được bố trí cách xa đường hàn.
Nếu sử dụng một số lỗ trích áp, các vòi đo áp suất phải được nối qua khóa đóng/cắt đến bình san áp có diện tích mặt cắt ngang, không nhỏ hơn tổng mặt cắt ngang của các vòi đo áp suất, sao cho có thể đo áp suất từ các vòi riêng rẽ, khi có yêu cầu. Trước khi đọc ghi dữ liệu, phải thử riêng rẽ các vòi đo áp suất ở điều kiện thử nghiệm chuẩn. Nếu một trong bốn giá trị đọc, sai khác giá trị cột áp toàn phần trung bình hơn 0,5 % (hoặc lớn hơn một lần cột áp vận tốc trong phân đoạn đo lường), phải xác định và loại bỏ nguyên nhân trước khi thử nghiệm chính thức bắt đầu;
Nếu sử dụng nhiều vòi đo áp suất giống nhau để đo NPSH thì độ lệch giữa chúng không được lớn hơn 1% giá trị NPSH (hoặc một lần cột áp động cửa vào).
Các ống nối vòi đo áp suất về thiết bị san áp (điều 5.4.2.2) và về các thiết bị đo, ít nhất phải có đường kính trong bằng đường kính lỗ khoan của vòi đo áp suất và không bị rò rỉ.
Tất cả các điểm cao trong đường ống nối phải được trang bị van xả khí để tránh hiện tượng tích khí trong quá trình đo.
Khi có thể, khuyến cáo sử dụng đường ống trong suốt để xác định sự tích khí trong đường ống. Trong ISO 2186 đưa ra các chỉ dẫn về đường ống nối.





