Bạn có bao giờ tự hỏi về kích thước của van bi (ball valve dimensions) và tầm quan trọng của chúng trong các ứng dụng công nghiệp khác nhau? Với sự phát triển không ngừng của các ngành công nghiệp, việc nắm bắt thông tin chi tiết về ball valve dimensions là điều cần thiết. Bài viết này sẽ đưa bạn vào một hành trình khám phá về các tính chất cơ bản, lịch sử phát triển, thành phần hóa học, ứng dụng thực tiễn, và nhiều hơn nữa về ball valve dimensions. Hãy cùng tìm hiểu để hiểu rõ hơn về vai trò quan trọng của chúng trong cuộc sống hiện đại.
Giới thiệu về Ball Valve Dimensions
Tính chất cơ bản của Ball Valve Dimensions
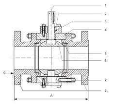
Van bi, hay còn gọi là ball valve, là một loại van được sử dụng rộng rãi trong nhiều ngành công nghiệp nhờ vào thiết kế đơn giản và khả năng điều khiển dòng chảy hiệu quả. Kích thước của van bi, hay ball valve dimensions, đóng vai trò quan trọng trong việc xác định hiệu suất và ứng dụng của nó. Các thông số kích thước bao gồm đường kính trong, đường kính ngoài, chiều dài và chiều cao của van. Những thông số này không chỉ ảnh hưởng đến khả năng lắp đặt mà còn quyết định khả năng chịu áp lực và lưu lượng dòng chảy qua van.
Ball valve dimensions thường được tiêu chuẩn hóa để đảm bảo tính tương thích và dễ dàng trong việc thay thế và bảo trì. Các kích thước phổ biến có thể bao gồm từ nhỏ như 1/4 inch đến lớn hơn như 12 inch hoặc hơn, tùy thuộc vào yêu cầu cụ thể của hệ thống. Việc lựa chọn kích thước phù hợp là yếu tố quan trọng để đảm bảo hiệu suất tối ưu và độ bền của hệ thống.
Với tính linh hoạt cao, van bi có thể được sử dụng trong nhiều môi trường khác nhau, từ nước, dầu, khí đốt đến các hóa chất ăn mòn. Điều này làm cho ball valve dimensions trở thành một yếu tố không thể thiếu trong thiết kế và vận hành các hệ thống công nghiệp.

Lịch sử và phát triển
Van bi đã có một lịch sử phát triển lâu dài và phong phú. Ban đầu, các thiết kế van bi đơn giản chỉ bao gồm một quả bóng với một lỗ xuyên qua, cho phép dòng chảy đi qua khi quả bóng được xoay một góc 90 độ. Qua thời gian, công nghệ và vật liệu đã phát triển, cho phép sản xuất các loại van bi có khả năng chịu áp lực và nhiệt độ cao hơn.
Trong những thập kỷ gần đây, sự phát triển của công nghệ sản xuất đã cho phép chế tạo van bi với độ chính xác cao hơn, đáp ứng các tiêu chuẩn khắt khe của ngành công nghiệp hiện đại. Các cải tiến trong vật liệu như thép không gỉ và hợp kim đặc biệt đã mở rộng khả năng ứng dụng của van bi trong các môi trường ăn mòn và nhiệt độ cao.
Ngày nay, van bi không chỉ được sử dụng trong các hệ thống dẫn nước và dầu khí mà còn trong các ngành công nghiệp chế biến hóa chất, thực phẩm, và dược phẩm. Sự phát triển liên tục của công nghệ và quy trình sản xuất hứa hẹn sẽ tiếp tục mở rộng khả năng ứng dụng của van bi trong tương lai.
Thành phần hóa học
Các nguyên tố chính
Thành phần hóa học của van bi là yếu tố quyết định đến độ bền và khả năng chống ăn mòn của nó. Thép không gỉ là một trong những vật liệu phổ biến nhất được sử dụng để chế tạo van bi do tính chất chống ăn mòn và độ bền cao. Các nguyên tố chính trong hợp kim thép không gỉ bao gồm sắt, carbon, và các nguyên tố hợp kim như chrome, nickel, và molybdenum.
Chrome là một nguyên tố quan trọng giúp cải thiện khả năng chống ăn mòn của thép không gỉ, trong khi nickel tăng cường độ dẻo và khả năng chịu nhiệt. Molybdenum được thêm vào để tăng cường khả năng chống ăn mòn trong môi trường có chứa chloride, chẳng hạn như nước biển.
Việc lựa chọn thành phần hóa học phù hợp cho van bi phụ thuộc vào môi trường sử dụng cụ thể. Đối với các ứng dụng trong môi trường ăn mòn cao, van bi được làm từ hợp kim chứa hàm lượng cao chrome và nickel sẽ là lựa chọn tối ưu.
Ảnh hưởng của thành phần hóa học đến đặc tính
Thành phần hóa học của van bi không chỉ ảnh hưởng đến khả năng chống ăn mòn mà còn đến các đặc tính cơ học khác như độ cứng, độ dẻo dai, và khả năng chịu nhiệt. Ví dụ, một van bi được làm từ thép không gỉ 316, với hàm lượng molybdenum cao, sẽ có khả năng chống ăn mòn tốt hơn so với thép không gỉ 304 trong môi trường chloride.
Thành phần hóa học cũng ảnh hưởng đến khả năng gia công và hàn của van bi. Các hợp kim với hàm lượng carbon thấp thường dễ gia công hơn và có khả năng hàn tốt hơn, trong khi những hợp kim với hàm lượng carbon cao có thể yêu cầu các kỹ thuật gia công đặc biệt để tránh nứt gãy.
Hiểu rõ về thành phần hóa học của van bi là rất quan trọng để đảm bảo lựa chọn đúng loại van cho ứng dụng cụ thể, từ đó tối ưu hóa hiệu suất và tuổi thọ của hệ thống.
Ứng dụng thực tiễn của Ball Valve Dimensions
Trong ngành công nghiệp xây dựng
Trong ngành công nghiệp xây dựng, van bi là một thành phần quan trọng trong hệ thống cấp thoát nước và điều hòa không khí. Kích thước của van bi, hay ball valve dimensions, được lựa chọn dựa trên yêu cầu cụ thể của từng hệ thống để đảm bảo hiệu suất tối ưu.
Các van bi lớn thường được sử dụng trong các hệ thống cấp nước chính, nơi cần điều khiển lưu lượng lớn và áp lực cao. Ngược lại, các van bi nhỏ hơn có thể được sử dụng trong các ứng dụng điều chỉnh lưu lượng nước trong các tòa nhà dân dụng hoặc thương mại.
Khả năng đóng mở nhanh chóng và dễ dàng của van bi là một lợi thế lớn trong các ứng dụng xây dựng, nơi thời gian và hiệu quả là yếu tố quan trọng. Ngoài ra, van bi còn được ưa chuộng nhờ khả năng chống rò rỉ và độ bền cao, giúp giảm chi phí bảo trì và sửa chữa trong dài hạn.
Trong ngành chế tạo máy móc
Ngành chế tạo máy móc cũng là một lĩnh vực mà van bi được sử dụng rộng rãi. Các hệ thống thủy lực và khí nén thường yêu cầu van bi để điều khiển dòng chảy của chất lỏng hoặc khí một cách chính xác và an toàn.
Trong các máy móc công nghiệp, van bi có kích thước nhỏ thường được sử dụng để điều chỉnh dòng chảy trong các hệ thống nhỏ gọn, trong khi các van lớn hơn có thể được sử dụng trong các hệ thống sản xuất lớn. Khả năng chịu áp lực cao và đóng mở nhanh chóng của van bi là những yếu tố quan trọng giúp đảm bảo hiệu suất và an toàn cho các máy móc.
Việc lựa chọn đúng kích thước và vật liệu cho van bi là rất quan trọng trong ngành chế tạo máy móc, vì nó ảnh hưởng trực tiếp đến hiệu suất và độ bền của hệ thống. Các kỹ sư thường phải cân nhắc kỹ lưỡng để đảm bảo van bi phù hợp với điều kiện hoạt động cụ thể của từng máy móc.
Trong ngành sản xuất đồ gia dụng
Van bi cũng có vai trò quan trọng trong ngành sản xuất đồ gia dụng, đặc biệt là trong các thiết bị như máy giặt, máy rửa chén, và hệ thống nước nóng. Kích thước và vật liệu của van bi được lựa chọn dựa trên yêu cầu cụ thể của từng thiết bị để đảm bảo hiệu suất và độ bền.
Trong các thiết bị gia dụng, van bi thường được sử dụng để điều khiển dòng chảy của nước hoặc khí một cách chính xác, giúp tối ưu hóa hiệu suất và tiết kiệm năng lượng. Khả năng chống ăn mòn của van bi cũng là một yếu tố quan trọng, đặc biệt là trong các thiết bị tiếp xúc với nước hoặc hóa chất.
Việc sử dụng van bi trong ngành sản xuất đồ gia dụng không chỉ giúp cải thiện hiệu suất của thiết bị mà còn góp phần giảm chi phí bảo trì và nâng cao tuổi thọ của sản phẩm. Điều này mang lại lợi ích lớn cho cả nhà sản xuất và người tiêu dùng.
Ưu điểm so với các loại thép khác
Khả năng chống ăn mòn
Khả năng chống ăn mòn là một trong những ưu điểm nổi bật của van bi so với các loại thép khác. Với việc sử dụng thép không gỉ và các hợp kim đặc biệt, van bi có thể chịu được các điều kiện môi trường khắc nghiệt mà không bị ăn mòn.
Trong các hệ thống công nghiệp, van bi thường phải tiếp xúc với nước, hóa chất, và các chất lỏng có tính ăn mòn khác. Việc sử dụng vật liệu chống ăn mòn giúp bảo vệ van khỏi hư hỏng và kéo dài tuổi thọ của hệ thống.
Khả năng chống ăn mòn của van bi không chỉ giúp giảm chi phí bảo trì mà còn đảm bảo an toàn cho hệ thống, đặc biệt là trong các ứng dụng đòi hỏi độ tin cậy cao như ngành dầu khí và hóa chất.
Độ bền và tuổi thọ cao
Van bi được biết đến với độ bền và tuổi thọ cao, nhờ vào thiết kế đơn giản và vật liệu chất lượng cao. Khả năng chịu áp lực và nhiệt độ cao của van bi là những yếu tố quan trọng giúp đảm bảo độ bền trong các điều kiện hoạt động khắc nghiệt.
So với các loại van khác, van bi có cấu trúc đơn giản hơn, giúp giảm thiểu các điểm yếu và nguy cơ hỏng hóc. Điều này không chỉ tăng cường độ bền mà còn giảm chi phí bảo trì và sửa chữa trong dài hạn.
Với độ bền và tuổi thọ cao, van bi là lựa chọn lý tưởng cho các ứng dụng đòi hỏi sự ổn định và độ tin cậy, từ các hệ thống công nghiệp lớn đến các thiết bị gia dụng hàng ngày.
Cách bảo trì và làm sạch
Phương pháp làm sạch hiệu quả
Bảo trì và làm sạch định kỳ là rất quan trọng để đảm bảo hiệu suất và tuổi thọ của van bi. Các phương pháp làm sạch hiệu quả bao gồm việc sử dụng dung dịch làm sạch chuyên dụng và các công cụ phù hợp để loại bỏ cặn bẩn và chất lắng đọng.
Việc làm sạch van bi nên được thực hiện theo hướng dẫn của nhà sản xuất để tránh làm hỏng bề mặt và các thành phần bên trong. Sử dụng nước sạch và dung dịch không ăn mòn là cách tốt nhất để bảo vệ van khỏi hư hỏng.
Đối với các van bi sử dụng trong môi trường hóa chất, việc làm sạch cần được thực hiện cẩn thận để đảm bảo an toàn cho người thực hiện và bảo vệ van khỏi tác động của hóa chất.

Lưu ý khi bảo trì
Khi bảo trì van bi, cần lưu ý một số yếu tố quan trọng để đảm bảo an toàn và hiệu quả. Trước tiên, cần đảm bảo hệ thống đã được ngắt kết nối và không còn áp lực trước khi tiến hành bảo trì.
Kiểm tra định kỳ các bộ phận của van bi để phát hiện sớm các dấu hiệu hư hỏng hoặc mài mòn. Thay thế các bộ phận hư hỏng kịp thời để tránh ảnh hưởng đến hiệu suất của hệ thống.
Việc sử dụng các phụ tùng và vật liệu thay thế chính hãng là rất quan trọng để đảm bảo độ bền và tính tương thích của van bi. Tuân thủ hướng dẫn bảo trì của nhà sản xuất cũng là yếu tố quan trọng để kéo dài tuổi thọ của van.
Những điều cần lưu ý khi sử dụng
Các yếu tố ảnh hưởng đến chất lượng
Chất lượng của van bi có thể bị ảnh hưởng bởi nhiều yếu tố, bao gồm vật liệu, thiết kế, và điều kiện sử dụng. Việc lựa chọn vật liệu phù hợp với môi trường sử dụng là yếu tố quan trọng để đảm bảo hiệu suất và độ bền của van.
Thiết kế của van bi cũng ảnh hưởng đến khả năng chịu áp lực và lưu lượng dòng chảy. Các van bi được thiết kế với độ chính xác cao sẽ có khả năng hoạt động hiệu quả hơn và ít bị rò rỉ.
Điều kiện sử dụng, bao gồm nhiệt độ, áp lực, và tính chất của chất lỏng hoặc khí đi qua van, cũng là yếu tố quan trọng cần xem xét khi lựa chọn và sử dụng van bi.
Làm thế nào để chọn mua chất lượng
Để chọn mua van bi chất lượng, cần xem xét kỹ lưỡng các yếu tố như vật liệu, kích thước, và nhà sản xuất. Lựa chọn vật liệu phù hợp với môi trường sử dụng là yếu tố quan trọng để đảm bảo độ bền và hiệu suất của van.
Kích thước của van bi cần được lựa chọn dựa trên yêu cầu cụ thể của hệ thống để đảm bảo khả năng hoạt động tối ưu. Các thông số kích thước cần được kiểm tra kỹ lưỡng để đảm bảo tính tương thích và lắp đặt dễ dàng.
Lựa chọn nhà sản xuất uy tín và có kinh nghiệm trong ngành là yếu tố quan trọng để đảm bảo chất lượng và độ tin cậy của van bi. Các sản phẩm từ các nhà sản xuất uy tín thường được kiểm tra chất lượng nghiêm ngặt và có bảo hành dài hạn.
Hãy liên hệ với chúng tôi để tìm hiểu thêm về Ball valve dimensions phù hợp với nhu cầu của bạn. Chúng tôi cam kết cung cấp sản phẩm chất lượng cao và dịch vụ tốt nhất để đáp ứng mọi yêu cầu của bạn trong lĩnh vực ống inox và van inox.
Kết luận
Ball valve dimensions đóng vai trò quan trọng trong nhiều ngành công nghiệp, từ xây dựng, chế tạo máy móc đến sản xuất đồ gia dụng. Hiểu rõ về kích thước, thành phần hóa học, và ứng dụng của van bi giúp tối ưu hóa hiệu suất và độ bền của hệ thống. Với khả năng chống ăn mòn, độ bền cao, và khả năng ứng dụng rộng rãi, van bi là lựa chọn lý tưởng cho nhiều ứng dụng công nghiệp và gia dụng.
Việc bảo trì và làm sạch định kỳ là cần thiết để đảm bảo hiệu suất và kéo dài tuổi thọ của van bi. Lựa chọn vật liệu và kích thước phù hợp, cùng với việc tuân thủ hướng dẫn bảo trì của nhà sản xuất, sẽ giúp bảo vệ van khỏi hư hỏng và đảm bảo hoạt động ổn định.
Qua bài viết này, hy vọng bạn đã có cái nhìn toàn diện hơn về ball valve dimensions và tầm quan trọng của chúng trong cuộc sống hiện đại. Đừng quên áp dụng những kiến thức này khi chọn mua và sử dụng van bi để đảm bảo hiệu suất và độ bền tối ưu cho hệ thống của bạn.
Rất mong các bạn quan tâm và theo dõi http://thegioivancongnghiep.com/ để cập nhật thông tin mới nhất về Ball valve dimensions