Trong thế giới công nghiệp hiện đại, việc lựa chọn các thành phần cơ khí phù hợp là điều vô cùng quan trọng để đảm bảo sự vận hành hiệu quả và an toàn của hệ thống. Một trong những tiêu chuẩn phổ biến và được sử dụng rộng rãi là Flange ISO 5211. Bài viết này sẽ tìm hiểu chi tiết về tiêu chuẩn này, từ định nghĩa, ứng dụng, cho đến lợi ích và cách lựa chọn phù hợp. Đọc tiếp để hiểu rõ hơn về Flange ISO 5211 và lý do tại sao nó lại trở thành một phần không thể thiếu trong nhiều ngành công nghiệp.
Flange ISO 5211 là gì?
Định nghĩa và tiêu chuẩn của flange ISO 5211
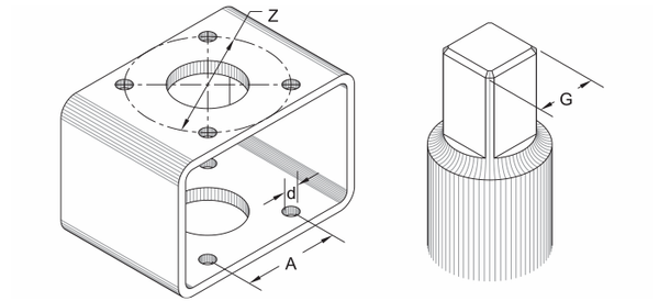
Flange ISO 5211 là một tiêu chuẩn quốc tế quy định các yêu cầu kỹ thuật cho các mặt bích được sử dụng trong các hệ thống truyền động của van công nghiệp. Tiêu chuẩn này được thiết kế để đảm bảo tính tương thích giữa các bộ phận van và truyền động, giúp đơn giản hóa việc lắp đặt và bảo trì. ISO 5211 đặc biệt chú trọng đến kích thước và vị trí của các lỗ bu lông, đảm bảo rằng các bộ phận từ các nhà sản xuất khác nhau có thể hoạt động cùng nhau một cách trơn tru.
Với sự phát triển không ngừng của ngành công nghiệp, việc sử dụng các tiêu chuẩn quốc tế như ISO 5211 giúp các doanh nghiệp tiết kiệm thời gian và chi phí khi phải đối mặt với các yêu cầu lắp đặt và bảo trì phức tạp. Nó cũng đảm bảo rằng các sản phẩm được sản xuất theo tiêu chuẩn này có thể được sử dụng rộng rãi mà không gặp trở ngại về mặt kỹ thuật.

Ứng dụng của Flange ISO 5211
Trong ngành công nghiệp dầu khí, Flange ISO 5211 được sử dụng rộng rãi trong các hệ thống van điều khiển và van chặn. Do tính chất khắc nghiệt của môi trường làm việc, các thành phần cần phải đảm bảo độ bền và độ tin cậy cao. Flange ISO 5211 đáp ứng được yêu cầu này, giúp các doanh nghiệp trong ngành dầu khí tối ưu hóa hiệu suất và giảm thiểu rủi ro.
Ngành công nghiệp hóa chất đòi hỏi các thành phần cơ khí phải chịu được sự ăn mòn và áp suất cao. Flange ISO 5211, với thiết kế chắc chắn và khả năng chống chịu tốt, là lựa chọn lý tưởng cho các hệ thống van trong ngành này. Việc sử dụng các sản phẩm theo tiêu chuẩn ISO 5211 giúp các doanh nghiệp hóa chất đảm bảo an toàn và hiệu quả trong quá trình sản xuất.
Không chỉ giới hạn trong ngành dầu khí và hóa chất, Flange ISO 5211 còn được ứng dụng rộng rãi trong nhiều ngành công nghiệp khác như nước, khí đốt, và năng lượng. Sự linh hoạt và khả năng tương thích của tiêu chuẩn này giúp nó trở thành lựa chọn phổ biến trong các hệ thống cần sự chính xác và bền bỉ.
Lợi ích của việc sử dụng Flange ISO 5211
Flange ISO 5211 mang lại tính linh hoạt cao trong việc áp dụng vào các hệ thống công nghiệp khác nhau. Nhờ vào sự đồng nhất về kích thước và thiết kế, các doanh nghiệp có thể dễ dàng tích hợp các bộ phận từ nhiều nhà cung cấp khác nhau mà không cần phải lo lắng về sự không tương thích.
Tiêu chuẩn ISO 5211 đảm bảo rằng các mặt bích có thể tương thích với nhiều loại truyền động khác nhau, từ truyền động bằng tay đến truyền động bằng điện. Điều này giúp các hệ thống có thể dễ dàng nâng cấp hoặc thay thế mà không cần phải thay đổi toàn bộ cấu trúc.
Với thiết kế chắc chắn và khả năng chịu lực tốt, Flange ISO 5211 giúp tăng cường độ bền và độ tin cậy cho các hệ thống công nghiệp. Điều này đặc biệt quan trọng trong các môi trường làm việc khắc nghiệt, nơi mà sự cố có thể gây ra những hậu quả nghiêm trọng.
Cách chọn Flange ISO 5211 phù hợp
Khi chọn Flange ISO 5211, cần cân nhắc các yếu tố như kích thước, vật liệu, và môi trường làm việc. Kích thước của mặt bích cần phù hợp với hệ thống hiện có, trong khi vật liệu cần đáp ứng được các yêu cầu về độ bền và khả năng chịu ăn mòn.
Để lựa chọn Flange ISO 5211 phù hợp, trước tiên cần xác định rõ nhu cầu và điều kiện làm việc của hệ thống. Sau đó, tham khảo các sản phẩm từ các nhà cung cấp uy tín để đảm bảo chất lượng và tính tương thích. Việc thử nghiệm và kiểm tra kỹ lưỡng trước khi lắp đặt cũng là bước quan trọng để đảm bảo hiệu quả và an toàn.
Quy trình lắp đặt và bảo trì Flange ISO 5211
Quy trình lắp đặt Flange ISO 5211 cần được thực hiện theo hướng dẫn của nhà sản xuất để đảm bảo tính chính xác và an toàn. Trước khi lắp đặt, cần kiểm tra kỹ lưỡng các thành phần để phát hiện sớm các lỗi kỹ thuật. Trong quá trình lắp đặt, cần chú ý đến việc siết chặt các bu lông theo đúng lực quy định để đảm bảo độ kín và độ bền của hệ thống.
Bảo trì định kỳ là yếu tố quan trọng để duy trì hiệu suất của Flange ISO 5211. Cần thường xuyên kiểm tra và làm sạch các mặt bích, đảm bảo chúng không bị ăn mòn hoặc hư hỏng. Việc thay thế các bộ phận bị mòn hoặc hỏng kịp thời sẽ giúp kéo dài tuổi thọ của hệ thống và đảm bảo an toàn trong quá trình vận hành.
Hãy liên hệ với chúng tôi để tìm hiểu thêm về Flange iso 5211 phù hợp với nhu cầu của bạn. Chúng tôi cam kết cung cấp sản phẩm chất lượng cao và dịch vụ tốt nhất để đáp ứng mọi yêu cầu của bạn trong lĩnh vực ống inox và van inox.

Kết luận
Flange ISO 5211 là một tiêu chuẩn quan trọng trong ngành công nghiệp, mang lại nhiều lợi ích về tính linh hoạt, độ bền, và khả năng tương thích. Việc hiểu rõ và áp dụng đúng tiêu chuẩn này sẽ giúp các doanh nghiệp tối ưu hóa hiệu suất và đảm bảo an toàn trong các hệ thống công nghiệp. Với sự phát triển không ngừng của công nghệ, Flange ISO 5211 sẽ tiếp tục đóng vai trò quan trọng trong việc cải thiện chất lượng và hiệu quả của các sản phẩm cơ khí.
Để đảm bảo lựa chọn và sử dụng Flange ISO 5211 một cách hiệu quả, các doanh nghiệp cần chú trọng đến việc tìm hiểu kỹ lưỡng về tiêu chuẩn này, cũng như hợp tác với các nhà cung cấp uy tín. Điều này không chỉ giúp tối ưu hóa chi phí mà còn nâng cao tính cạnh tranh trên thị trường.
Rất mong các bạn quan tâm và theo dõi http://thegioivancongnghiep.com/ để cập nhật thông tin mới nhất về Flange iso 5211